




MID Energy meter
UL Energy Meter
Product Description
Detailed description
Parameters
Certificate
Download





|
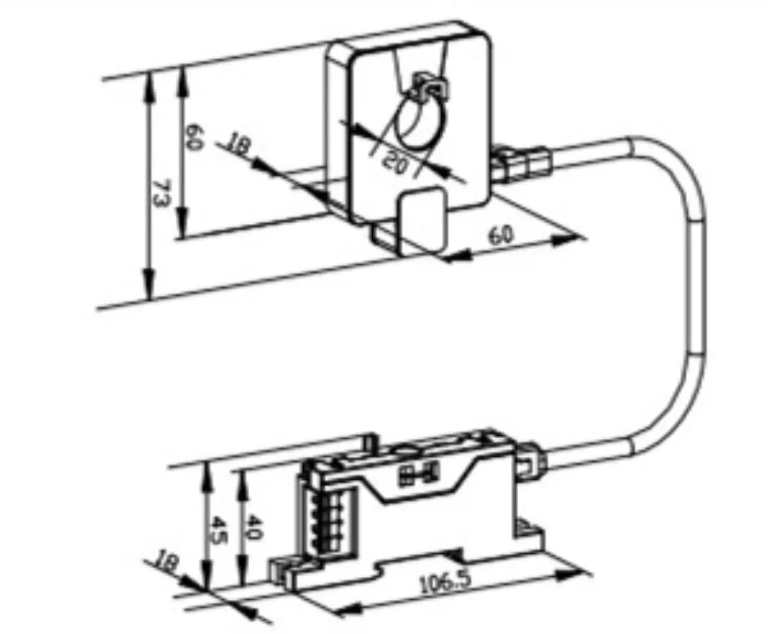
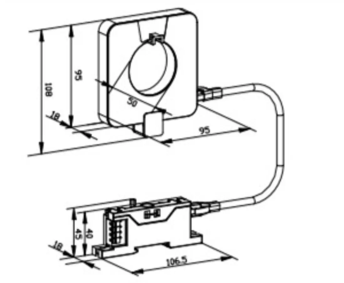
Input |
AI——BA20(II)-AI: AC 0~(0.5-200)A BA50(II)-AI: AC 0~(60-600)A BA50L(II)-AI: AC 0~(0.1-1)A |
|
Output |
I——Direct Current e.g. 4-20mA ; V——Direct Current Voltage e.g. DC0-5V |
|
Power Supply |
DC12V or DC24V |
|
Measuring Aperture |
20-φ20mm, 50-φ50mm |
|
Communication |
RS485 Modbus-RTU |
Download
[ | ] Installation
Tags:
Frequently asked questions